Retaining valves
These are valves, made of bronze with a nylon/fibre glass shutter.
They are essential in lubricated vacuum pumps to prevent the oil returning during the engine extinction phase due to counterrotation.

Art. | A | B | C | CH |
---|---|---|---|---|
EVRV 1/4 | 41 | CH1 7 | G. 1/4" | 17 |
EVRV 3/8 | 45 | 31 | G. 3/8" | 27 |
EVRV 1/2 | 43 | 31 | G. 1/2" | 27 |
EVRV 3/4 | 50 | 39 | G. 3/4" | 33 |
EVRV 1 | 58 | 47 | G. 1" | 40 |
EVRV 1·1/4 | 64 | 56 | G. 1-1/4" | 50 |
EVRVl· 1/2 | 49 | 66 | G. 1-1/2" | 55 |
EVRV 2 | 77 | 83 | G. 2" | 70 |

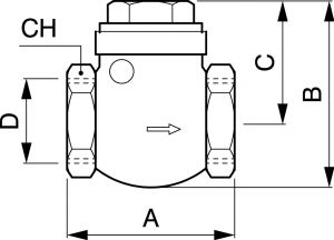
Art. | A | B | C | D | CH |
---|---|---|---|---|---|
EVRO 1/2 | 48 | 48 | 33 | G. 1/2" | 27 |
EVRO 3/4 | 58 | 60 | 42 | G. 3/4" | 33 |
EVRO 1 | 70 | 68 | 46 | G. 1" | 42 |
EVRO 1-1/4 | 81 | 77 | 55 | G. 1-1/4" | 51 |